Lei Jun lijkt er nog steeds op dat hij zijn bedrijf Xiaomi een EV fabrikant voordat zijn ambtstermijn als CEO ten einde loopt. De grote wereldwijde elektronica bedrijf heeft meer wegversperringen op zijn weg naar deze grens gevonden dan het misschien had verwacht; maar met zijn eigen nieuwe IP voor opladen is het nu misschien dichter dan ooit bij een belangrijke mijlpaal.
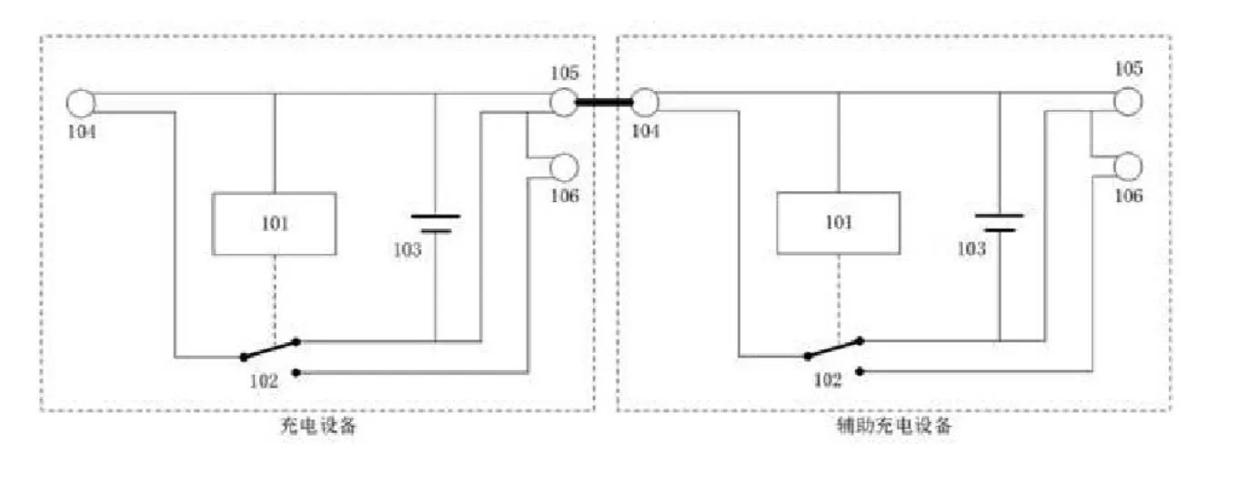
Xiaomi Auto Technology heeft nu zijn patent voor wat het een "oplaadapparaat" noemt.. apparaat, methode, apparaat, voertuigelektronisch apparaat en opslag goedgekeurd door de Chinese CNIPA. De documentatie, nu ook geplaatst door het World Intellectual Property Office (WIPO), stelt de technologie dus voor als wat een end-to-end oplaadsysteem zou kunnen zijn systeemdat ook kan worden geïntegreerd in een thuis of bedrijfsnet op een"smart " of automatisch basis.
Daarom zou apparatuur gebaseerd op dit IP Xiaomi (al geen onbekende in geavanceerde laadtechniek) veel dichter bij de massaproductie van een eerste generatie EV. Maar dan nog, potentiële klanten zouden zo'n schijnbaar gebrek aan compatibiliteit met meer universele autoladers een nadeel vinden in hun volgende voertuig.
Bron(nen)
Top 10 Testrapporten
» Top 10 Multimedia Notebooks 
» Top 10 Gaming-Notebooks
» Top 10 Budget Gaming Laptops
» Top 10 Lichtgewicht Gaming-Notebooks
» Top 10 Premium Office/Business-Notebooks
» Top 10 Budget Office/Business-Notebooks
» Top 10 Workstation-Laptops
» Top 10 Subnotebooks
» Top 10 Ultrabooks
» Top 10 Notebooks tot €300
» Top 10 Notebooks tot €500
» Top 10 Notebooks tot € 1.000De beste notebookbeeldschermen zoals getest door Notebookcheck
» De beste notebookbeeldschermen
» Top Windows Alternatieven voor de MacBook Pro 13
» Top Windows Alternatieven voor de MacBook Pro 15
» Top Windows alternatieven voor de MacBook 12 en Air
» Top 10 best verkopende notebooks op Amazon
 » Top 10 Convertible Notebooks
» Top 10 Tablets
» Top 10 Tablets tot € 250
» Top 10 Smartphones
» Top 10 Phablets (>90cm²)
 » Top 10 Camera Smartphones
» Top 10 Smartphones tot €500
» Top 10 best verkopende smartphones op Amazon



















