In het verleden heeft Garmin varianten van haar outdoor smartwatches aangeboden met oplaadmogelijkheden op zonne-energie die in theorie een oneindige batterijlevensduur bieden. In de praktijk leveren de Instinct 3 Solar en Fenix 7 Pro Solar (momenteel $449 op Amazon) elk een batterijlevensduur van drie tot vijf weken, afhankelijk van de hoeveelheid zonlicht waaraan ze dagelijks worden blootgesteld.
Tot nu toe heeft Garmin het opladen op zonne-energie alleen aangeboden met smartwatches die ook een Memory in Pixel (MiP) display hebben. Als gevolg daarvan missen de Fenix 8 Solar en Tactix 8 Solar de meer levendige AMOLED paneeltechnologie die in de Fenix E en de gewone Fenix 8 te vinden is. Ondertussen bestaan er nog geen Solar-versies van de Fenix 8 Pro, omdat Garmin haar nieuwste Pro-smartwatches beperkt tot AMOLED- en microLED-schermen.
Top 10 Testrapporten
» Top 10 Multimedia Notebooks
» Top 10 Gaming-Notebooks
» Top 10 Budget Gaming Laptops
» Top 10 Lichtgewicht Gaming-Notebooks
» Top 10 Premium Office/Business-Notebooks
» Top 10 Budget Office/Business-Notebooks
» Top 10 Workstation-Laptops
» Top 10 Subnotebooks
» Top 10 Ultrabooks
» Top 10 Notebooks tot €300
» Top 10 Notebooks tot €500
» Top 10 Notebooks tot € 1.000De beste notebookbeeldschermen zoals getest door Notebookcheck
» De beste notebookbeeldschermen
» Top Windows Alternatieven voor de MacBook Pro 13
» Top Windows Alternatieven voor de MacBook Pro 15
» Top Windows alternatieven voor de MacBook 12 en Air
» Top 10 best verkopende notebooks op Amazon
» Top 10 Convertible Notebooks
» Top 10 Tablets
» Top 10 Tablets tot € 250
» Top 10 Smartphones
» Top 10 Phablets (>90cm²)
» Top 10 Camera Smartphones
» Top 10 Smartphones tot €500
» Top 10 best verkopende smartphones op Amazon
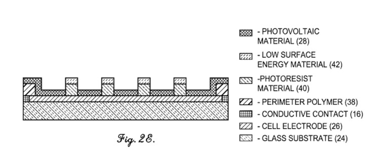
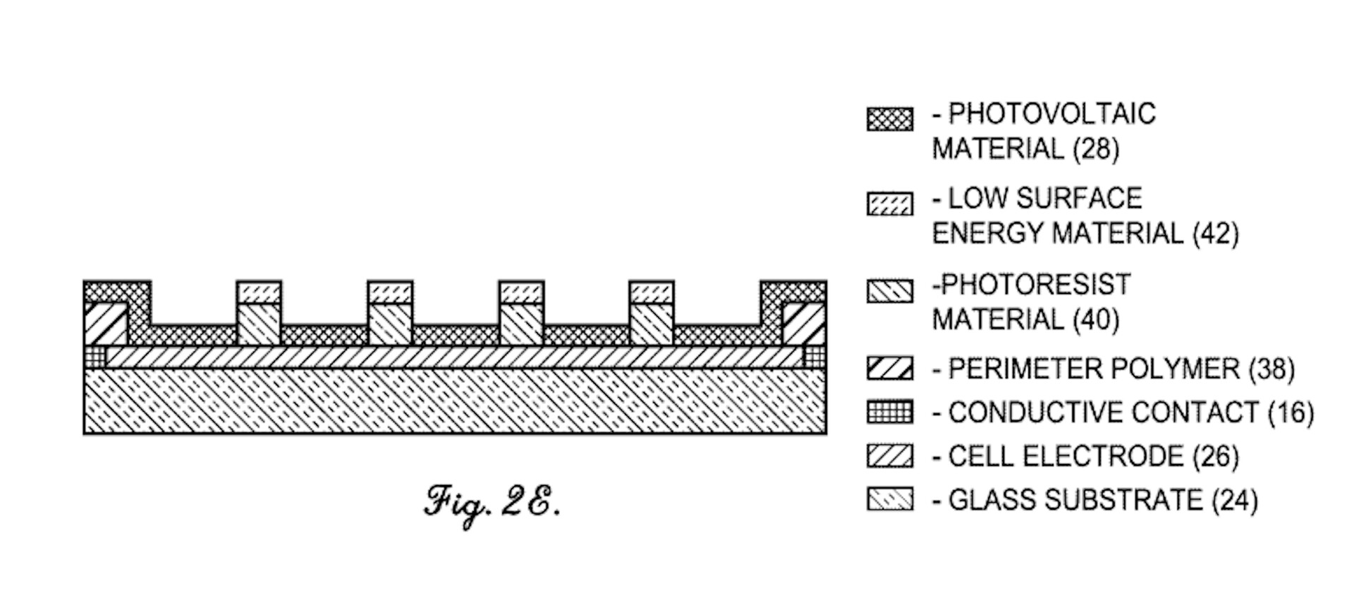
Een recente octrooipublicatie geeft echter aan dat Garmin hoopt deze huidige beperking te veranderen door de implementatie van de zonnecellen te herzien. Het patent is ingediend bij het United States Patent and Trademark Office (USPTO) als US 2025/0359354 A1het patent beschrijft een semi-transparante zonnecel die de zichtbaarheid van AMOLED-panelen niet in gevaar brengt.
Daarom speculeert Gadgets & Wearables dat Garmin werkt aan de lancering van high-end smartwatches met AMOLED-schermen en oplaadmogelijkheden op zonne-energie. Het USPTO heeft dit patent pas op 20 november toegekend. Wij vermoeden dus dat Garmin nog een paar jaar verwijderd is van massaproductie van deze technologie, als het daar al voor kiest. Dit gezegd hebbende, verwachten we geen Fenix 9 Pro smartwatches voor 2027.













