Appletijdens het lanceringsevenement van de iPhone 15, Apple Watch Series 9 en Apple Watch Ultra 2 vorig jaar was er een introsegment gewijd aan echte verhalen over Apple apparaten die levens redden met hun geavanceerde veiligheidsfuncties. Of het nu de Apple Watch's hartslagdetectieof de noodsatelliet SOS en botsingdetectieis het duidelijk dat deze levensreddende veiligheidsfuncties voor noodgevallen een vrij moeilijk te overtreffen waardepropositie zijn.
Nu onthult een nieuw patent de volgende stap van het bedrijf in deze richting - een "digitale zwembadassistent" die kan detecteren of een zwemmer aan het verdrinken is of in nood verkeert, en een SOS-signaal over korte afstand kan uitzenden om apparaten in de buurt van de noodsituatie op de hoogte te stellen.
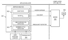
Het systeem dat in het octrooi beschreven wordt, gebruikt eerst gegevens van versnellingsmeters en gyroscopen om te controleren of de bewegingen van de drager op verdrinking of enige vorm van nood wijzen. Vervolgens zoekt het naar sterk verhoogde hartslag en/of lage bloedzuurstofwaarden om verder te bevestigen of er sprake is van een noodgeval.
In de aanvraag staat dat deze "zwemgegevens en andere [biometrische] informatie worden ingevoerd in een machine-learningmodel dat getraind is om een zwemmer te classificeren met regelmatig of onregelmatig gedrag in het water". Als er een patroon wordt gedetecteerd dat wijst op verdrinking, wordt er een radiosignaal uitgezonden naar apparaten in de buurt, die op hun beurt pop-upwaarschuwingen weergeven en hoorbare alarmen laten horen.
Top 10 Testrapporten
» Top 10 Multimedia Notebooks
» Top 10 Gaming-Notebooks
» Top 10 Budget Gaming Laptops
» Top 10 Lichtgewicht Gaming-Notebooks
» Top 10 Premium Office/Business-Notebooks
» Top 10 Budget Office/Business-Notebooks
» Top 10 Workstation-Laptops
» Top 10 Subnotebooks
» Top 10 Ultrabooks
» Top 10 Notebooks tot €300
» Top 10 Notebooks tot €500
» Top 10 Notebooks tot € 1.000De beste notebookbeeldschermen zoals getest door Notebookcheck
» De beste notebookbeeldschermen
» Top Windows Alternatieven voor de MacBook Pro 13
» Top Windows Alternatieven voor de MacBook Pro 15
» Top Windows alternatieven voor de MacBook 12 en Air
» Top 10 best verkopende notebooks op Amazon
» Top 10 Convertible Notebooks
» Top 10 Tablets
» Top 10 Tablets tot € 250
» Top 10 Smartphones
» Top 10 Phablets (>90cm²)
» Top 10 Camera Smartphones
» Top 10 Smartphones tot €500
» Top 10 best verkopende smartphones op Amazon
Het octrooi gaat ook in op een belangrijke uitdaging: radiosignalen worden onder water sterk verzwakt door de geleidbaarheid van water, waardoor het zendbereik beperkt wordt. Het gebruik van lagere frequenties en smallere banden in zoet water (dat minder geleidend is dan zeewater) kan dit probleem echter enigszins compenseren. Apple verduidelijkt dat het systeem bedoeld is voor gebruik in ondiep zoet water, zoals in zwembaden, vijvers en meren.
Het document wijst op de noodzaak van een dergelijk systeem - in de Verenigde Staten sterven jaarlijks 3500 mensen door verdrinking - en benadrukt tegelijkertijd de beperkingen van bestaande, op camera's gebaseerde oplossingen voor dit probleem, die duur zijn, ingewikkelde instellingen en onderhoud vereisen en vaak vals-positieve en gemiste detecties vertonen.
Hoewel een patentaanvraag meestal geen definitief teken is van een aankomend product of functie, lijkt de beschreven technologie in dit geval vrij gemakkelijk implementeerbaar met de bestaande hardware, en sluit deze perfect aan bij de positionering van de Apple Watch als potentieel levensreddend in een groot aantal omstandigheden. Het is ook een sterk argument om meer kinderen de Apple Watch te laten dragen, omdat zij statistisch gezien meer kans lopen op verdrinkingsongevallen.

















