Toyota werkt aan een gesimuleerde handgeschakelde transmissie voor sommige van zijn EV's. In 2022 werd in Japan een octrooiaanvraag ingediend en op is een nieuwe Amerikaanse octrooiaanvraag gepubliceerd die suggereert dat het bedrijf de technologie ook op deze markt zou kunnen uitrollen. In een presentatie op https://media.toyota.co.uk/toyota-unveils-new-technology-that-will-change-the-future-of-cars/ eerder dit jaar, kondigde Toyota haar intenties aan om hardware en software te ontwikkelen voor batterij-elektrische voertuigen, zodat deze kunnen beschikken over aandrijfbesturing en koppelingsfuncties.
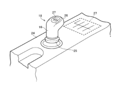
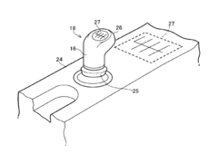
Het Amerikaanse octrooi van Toyota geeft details over een virtuele handgeschakelde versnellingsbak, met een versnellingspook die qua ontwerp lijkt op die in een gewone handgeschakelde auto. Tekeningen tonen het schakelapparaat met een patroon dat de bestuurder aangeeft waar elke virtuele versnelling zich bevindt en suggereren dat hetzelfde transversale selectiepad zou kunnen worden gebruikt. De fases komen overeen met de koppelniveaus die door de elektromotor worden gegenereerd. In het dossier staat dat Toyota opties overweegt voor voertuigen die niet beperkt zijn tot zes of zeven versnellingen, zoals bij typische handgeschakelde auto's het geval is. Bovendien zouden gebruikers kunnen kiezen uit verschillende koppelpatronen die passen bij hun favoriete rijstijl.
Toyota test deze technologie al in een Lexus UX300e EV. Degenen die in het concept van de handgeschakelde EV hebben gereden, beschrijven de rijervaring als leuk en merken op dat het mogelijk is om het voertuig "af te remmen". Het valt nog te bezien of en wanneer de technologie verkrijgbaar zou kunnen zijn voor een EV van de Toyota Group. Er gaan geruchten dat de FT-Se concept, getoond op de Japan Mobility Show 2023, een van de eerste modellen met een virtuele handgeschakelde versnellingsbak zou kunnen zijn.
Bron(nen)
Top 10 Testrapporten
» Top 10 Multimedia Notebooks
» Top 10 Gaming-Notebooks
» Top 10 Budget Gaming Laptops
» Top 10 Lichtgewicht Gaming-Notebooks
» Top 10 Premium Office/Business-Notebooks
» Top 10 Budget Office/Business-Notebooks
» Top 10 Workstation-Laptops
» Top 10 Subnotebooks
» Top 10 Ultrabooks
» Top 10 Notebooks tot €300
» Top 10 Notebooks tot €500
» Top 10 Notebooks tot € 1.000De beste notebookbeeldschermen zoals getest door Notebookcheck
» De beste notebookbeeldschermen
» Top Windows Alternatieven voor de MacBook Pro 13
» Top Windows Alternatieven voor de MacBook Pro 15
» Top Windows alternatieven voor de MacBook 12 en Air
» Top 10 best verkopende notebooks op Amazon
» Top 10 Convertible Notebooks
» Top 10 Tablets
» Top 10 Tablets tot € 250
» Top 10 Smartphones
» Top 10 Phablets (>90cm²)
» Top 10 Camera Smartphones
» Top 10 Smartphones tot €500
» Top 10 best verkopende smartphones op Amazon












