Samsung Display, een dochteronderneming van Samsung Electronics, stelt vaak concepten tentoon op beurzen zoals de Consumer Electronics Show (CES) en het Mobile World Congress (MWC). De displayfabrikant gebruikte MWC 2025 bijvoorbeeld om verschillende innovaties te presenteren, waaronder de Flex Gaming en de Flexibele aktetas.
Normaal gesproken blijven deze concepten precies wat ze zijn en bereiken ze nooit massaproductie. Het leek er echter op dat Samsung Display MWC 2025 ook gebruikte om de opvouwbare panelen te plagen die aan de basis zullen liggen van Samsung's eerste consumenten tri-fold en de opvolger van de Galaxy Z Fold6 (momenteel $1,099 - vernieuwd op Amazon).
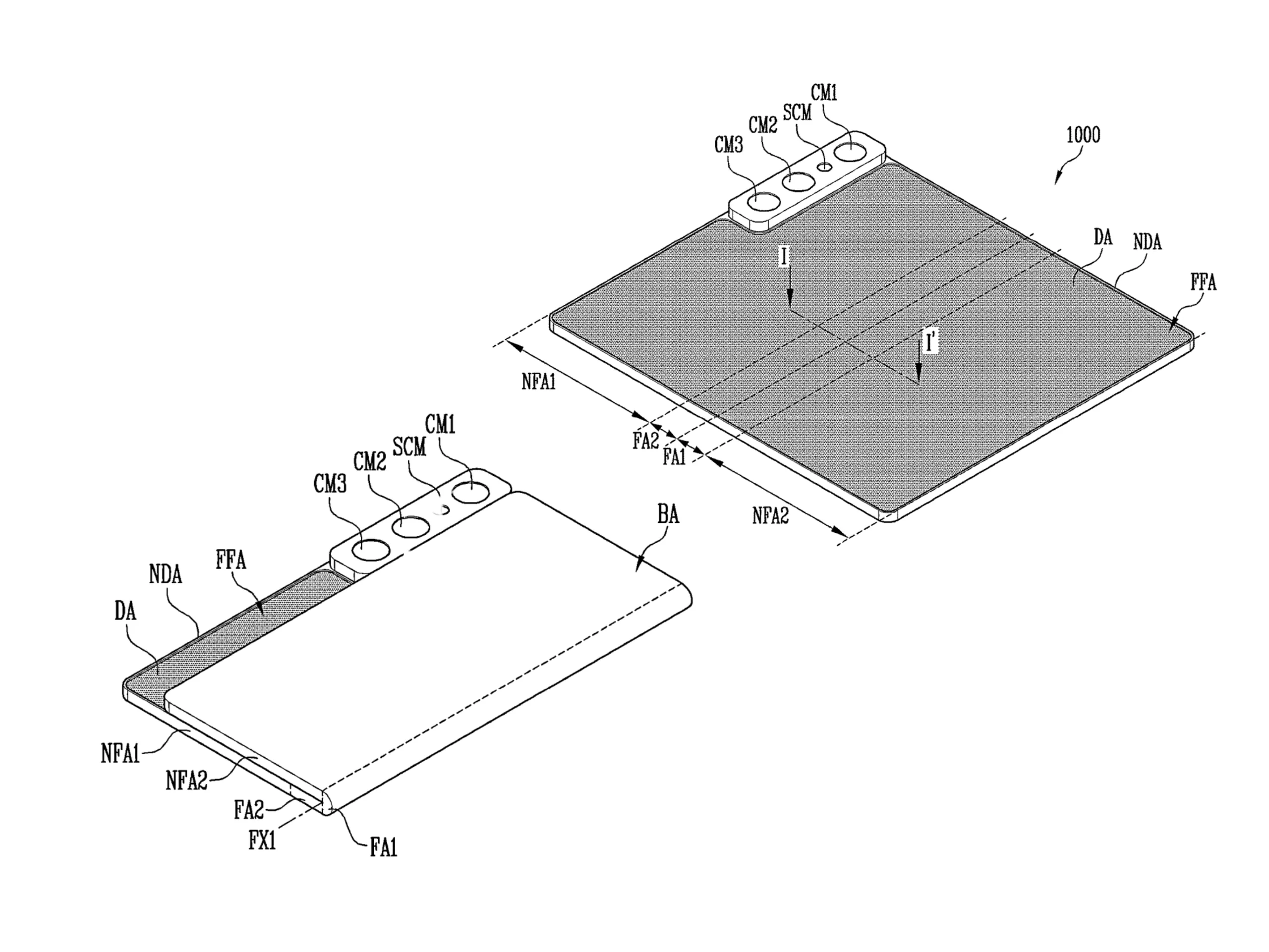
Nu heeft het bedrijf ontwerpgoedkeuring ontvangen van het United States Patent & Trademark Office (USPTO) voor een geheel nieuwe opvouwbare vormfactor. Zoals de onderstaande patenttekeningen laten zien, kan dit concept het scherm naar binnen en naar buiten vouwen, in plaats van slechts in één richting zoals bestaande opvouwbare apparaten voor consumenten. In feite combineert het concept de principes van de Galaxy Z Fold en Huawei Mate Xs of Mate Xs 2 in één apparaat.
Het gepatenteerde ontwerp verschilt van de Flex In N Out die Samsung Display liet zien tijdens CES 2023 meer dan twee jaar geleden. Ter herinnering: de Flex In N Out zag eruit als een gewone opvouwbare telefoon die naar binnen en naar buiten kon worden gevouwen. Het nieuwe concept van Samsung Display laat daarentegen een deel van het scherm zichtbaar onder de drievoudige camerarray. Hoewel de kans klein is dat dit ontwerp werkelijkheid wordt, is het mogelijk dat Samsung Display een real-life exemplaar tentoonstelt op een toekomstige beurs, net zoals het eerder dit jaar deed met de Flex Gaming.
Top 10 Testrapporten
» Top 10 Multimedia Notebooks
» Top 10 Gaming-Notebooks
» Top 10 Budget Gaming Laptops
» Top 10 Lichtgewicht Gaming-Notebooks
» Top 10 Premium Office/Business-Notebooks
» Top 10 Budget Office/Business-Notebooks
» Top 10 Workstation-Laptops
» Top 10 Subnotebooks
» Top 10 Ultrabooks
» Top 10 Notebooks tot €300
» Top 10 Notebooks tot €500
» Top 10 Notebooks tot € 1.000De beste notebookbeeldschermen zoals getest door Notebookcheck
» De beste notebookbeeldschermen
» Top Windows Alternatieven voor de MacBook Pro 13
» Top Windows Alternatieven voor de MacBook Pro 15
» Top Windows alternatieven voor de MacBook 12 en Air
» Top 10 best verkopende notebooks op Amazon
» Top 10 Convertible Notebooks
» Top 10 Tablets
» Top 10 Tablets tot € 250
» Top 10 Smartphones
» Top 10 Phablets (>90cm²)
» Top 10 Camera Smartphones
» Top 10 Smartphones tot €500
» Top 10 best verkopende smartphones op Amazon














