91mobilesheeft een patent ontdekt dat betrekking zou kunnen hebben op de Pixel Fold en zijn 'ultra-micro-gat camera'. Hoewel er veel geruchten zijn geweest over de Pixel Fold en de Pixel Notepad, doken details over een 'ultra-micro-gat camera' pas eerder deze maand op, met dank aan Digital Chat Station. Volgens de leaker heeft Google een prototype gemaakt van een camera-oplossing die past binnen het frame van een opvouwbaar apparaat, in plaats van te vertrouwen op een under-display camera (UDC) zoals de Samsung Galaxy Z Fold4.
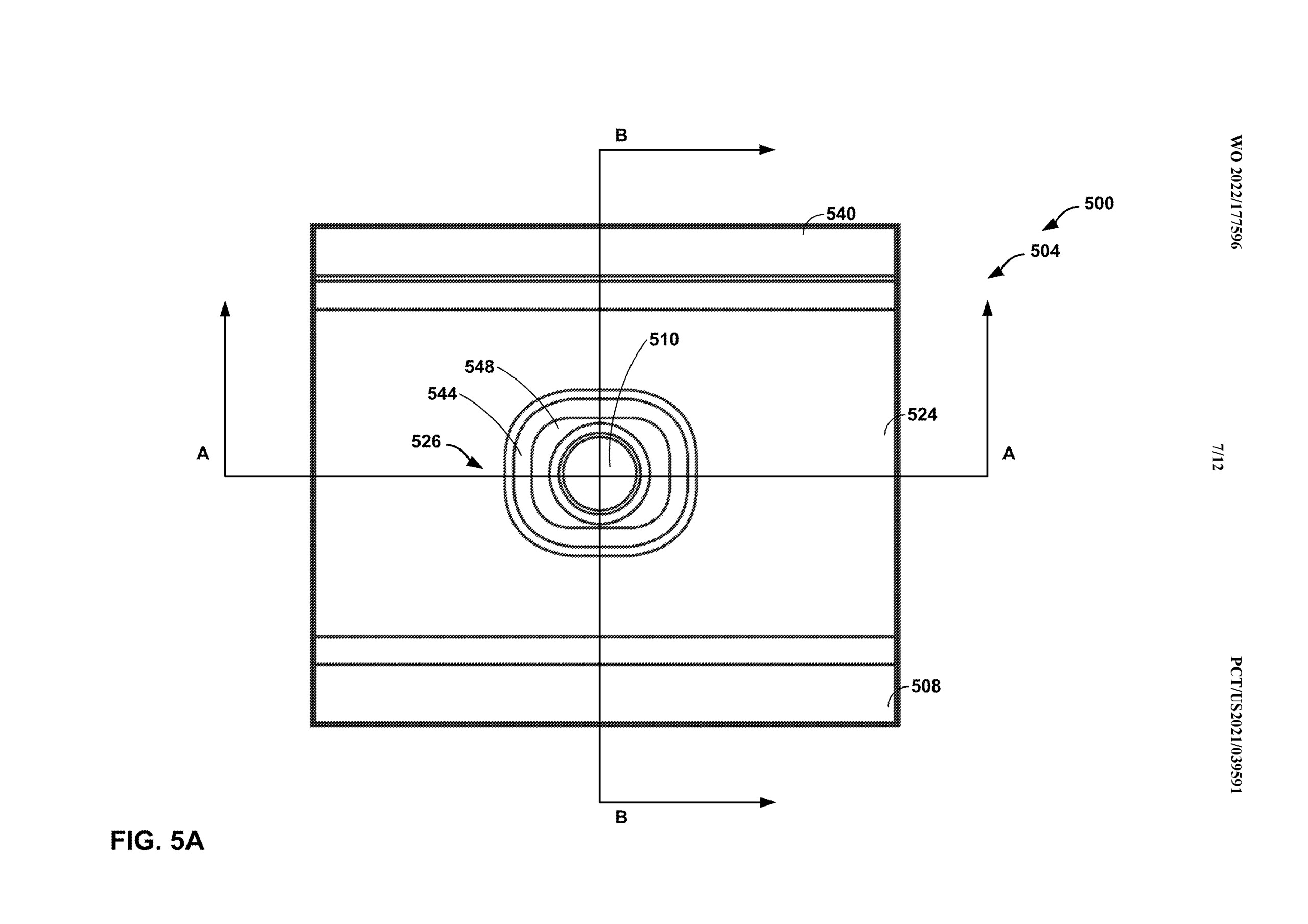
Vervolgens heeft 91mobileseen overeenkomstig octrooi ontdekt dat Google vorig jaar heeft aangevraagd. Gepubliceerd door de World Intellectual Property Organization (WIPO) op 25 augustus, het octrooi (PCT/US2021/039591) dateert van juni 2021 en wordt omschreven als een "opvouwbaar toestel met bezel geplaatste camera". Zoals uit de octrooitekeningen blijkt, heeft het opvouwbare toestel een ononderbroken intern scherm, zij het met dikke randen om plaats te bieden aan een naar voren gerichte camera.
Bovendien bevat het patent verschillende front-facing camera varianten, wat onderstreept dat Google aan het experimenteren is met de beste oplossing. Het is duidelijk dat Google nog steeds bezig is met de ontwikkeling van een opvouwbare smartphone. Zoals we hebben besproken in juli, bevatten Android 13 Beta-bestanden verwijzingen naar 'P7', een apparaat met vier camera's, waaronder een ISOCELL GN1 als de primaire sensor.
Op basis van eerdere geruchten zou Google kunnen wachten tot het voorjaar van 2023 om de Pixel Fold te lanceren. In de tussentijd wordt verwacht dat Google de Pixel 7 en Pixel 7 Pro in oktober, met een Pixel 7 Ultra geruchten ook. De Pixel Watch zou zich bij de Pixel 7-serie moeten voegen tijdens Google's volgende hardware-evenement, maar het valt nog te bezien of dePixel 7 Ultraaanwezig zal zijn.
Top 10 Testrapporten
» Top 10 Multimedia Notebooks
» Top 10 Gaming-Notebooks
» Top 10 Budget Gaming Laptops
» Top 10 Lichtgewicht Gaming-Notebooks
» Top 10 Premium Office/Business-Notebooks
» Top 10 Budget Office/Business-Notebooks
» Top 10 Workstation-Laptops
» Top 10 Subnotebooks
» Top 10 Ultrabooks
» Top 10 Notebooks tot €300
» Top 10 Notebooks tot €500
» Top 10 Notebooks tot € 1.000De beste notebookbeeldschermen zoals getest door Notebookcheck
» De beste notebookbeeldschermen
» Top Windows Alternatieven voor de MacBook Pro 13
» Top Windows Alternatieven voor de MacBook Pro 15
» Top Windows alternatieven voor de MacBook 12 en Air
» Top 10 best verkopende notebooks op Amazon
» Top 10 Convertible Notebooks
» Top 10 Tablets
» Top 10 Tablets tot € 250
» Top 10 Smartphones
» Top 10 Phablets (>90cm²)
» Top 10 Camera Smartphones
» Top 10 Smartphones tot €500
» Top 10 best verkopende smartphones op Amazon























