In een nieuw patent, ontdekt door tech4gamers.com, uit AMD haar bezorgdheid over de bandbreedtelimieten van de DDR5-standaard, vooral nu met de steeds toenemende vraag naar AI-rekenkracht. Terwijl Nvidia en geheugenchipproducenten zoals Samsung, SK Hynix en Micron richten zich op de SOCAMM2 aMD stelt een alternatief voor dat eenvoudiger te implementeren is in bestaande DDR5-systemen, of het nu gaat om consumenten- of datacenteroplossingen.
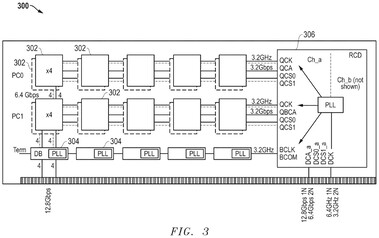
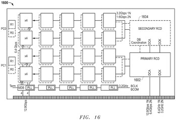
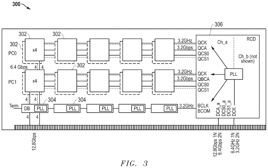
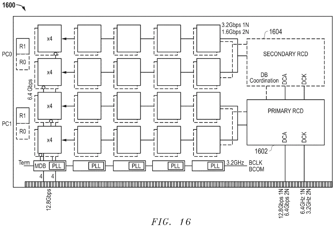
De verbeterde geheugenstandaard van AMD omvat "een architectuur voor geheugenmodules met hoge bandbreedte" die in wezen de huidige maximale bandbreedte van DDR5 van 6,4 Gbps verdubbelt. Het is belangrijk om hierbij op te merken dat de 12,8 Gbps bandbreedte wordt bereikt zonder de DRAM-chipontwerpen aan te passen. In plaats daarvan worden de DRAM-chips op een dual in-line geheugenmodule (HB-DIMM) met hoge bandbreedte geplaatst. De modules integreren ook een reeks extra hardwarecomponenten, zoals speciale bufferchips die gegevensoverdrachten mogelijk maken die twee keer zo snel zijn als wat de DDR5-standaard zou toestaan. Bovendien maakt de module gebruik van Register Clock Drivers (RCD's) die signalen efficiënter routeren, geheugentoegang parallelliseren en zo de doorvoerlimieten van de DDR5-standaard doorbreken.
In het octrooiaanvraagdossier wordt opgemerkt dat de HB-DIMM's snel schakelen tussen pseudokanaal- en quad-rank modi mogelijk maken, waardoor de oplossing geschikt is voor HPC's, AI-gebruikssituaties en spelsystemen. DDR5-compatibiliteit wordt gegarandeerd met behulp van flexibele klokmodi plus een niet-interleaved formaat voor gegevensoverdracht dat de signaalintegriteit en lage latentie behoudt.
Het lijkt erop dat HB-DIMM erg lijkt op de bestaande MRDIMM (Multiplexed Rank Dual Inline Memory Modules) standaard van Micron. MRDIMM is echter alleen beschikbaar voor Intels Xeon Granite Rapids-platform, dus AMD wil waarschijnlijk iets soortgelijks voor toekomstige EPYC-processors. Phoronix heeft onlangs een DDR5-6400 vs MRDIMM-8800 test gepubliceerd en de eigen Micron-standaard blijkt inderdaad sneller te zijn, maar zeker niet twee keer zo snel als DDR5.
SOCAMM2 wordt momenteel door de industrie meer ondersteund, dus AMD's HB-DIMM zou het moeilijk kunnen krijgen om geaccepteerd te worden, tenminste als het gaat om HPC en serversectoren.
Bron(nen)
via Techradar / Tech4Gamers / OC3D.net
Top 10 Testrapporten
» Top 10 Multimedia Notebooks
» Top 10 Gaming-Notebooks
» Top 10 Budget Gaming Laptops
» Top 10 Lichtgewicht Gaming-Notebooks
» Top 10 Premium Office/Business-Notebooks
» Top 10 Budget Office/Business-Notebooks
» Top 10 Workstation-Laptops
» Top 10 Subnotebooks
» Top 10 Ultrabooks
» Top 10 Notebooks tot €300
» Top 10 Notebooks tot €500
» Top 10 Notebooks tot € 1.000De beste notebookbeeldschermen zoals getest door Notebookcheck
» De beste notebookbeeldschermen
» Top Windows Alternatieven voor de MacBook Pro 13
» Top Windows Alternatieven voor de MacBook Pro 15
» Top Windows alternatieven voor de MacBook 12 en Air
» Top 10 best verkopende notebooks op Amazon
» Top 10 Convertible Notebooks
» Top 10 Tablets
» Top 10 Tablets tot € 250
» Top 10 Smartphones
» Top 10 Phablets (>90cm²)
» Top 10 Camera Smartphones
» Top 10 Smartphones tot €500
» Top 10 best verkopende smartphones op Amazon








